暴雷披露
Private Offering Fund
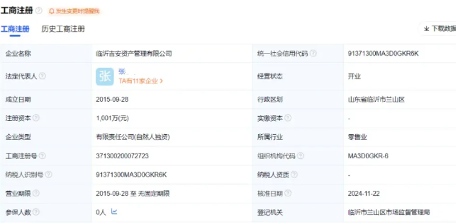
近日,临沂市公安局兰山分局发布通告,临沂吉安资产管理有限公司涉嫌非法吸收公众存款案,已由临沂市公安局兰山公安分局立案侦查,主要犯罪嫌疑人已被采取刑事强制措施。
通告称,为确保案件顺利侦办,切实保障广大投资参与人的合法权益,请在临沂吉安资产管理有限公司参与投资,但尚未到公安机关进行报案登记,及已登记未提供相关书证材料的投资人,携带本人身份证原件及复印件、投资合同、转账凭证(含微信、支付宝、银行转账记录,需银行打印)及其他能够证明存、取款的相关材料,于2026年4月1日之前到临沂市公安局兰山分局经济犯罪侦查大队进行登记、提交材料,未在规定时间内登记、提交材料的参与人将自行承担由此造成的不利后果。有资产配置需求,可加微信cwx0163,获取专属建议

据悉,临沂吉安资产管理有限公司成立于2015年09月28日,注册地位于山东省临沂市兰山区天元国际小区1号楼30楼,法定代表人为张某。

有资产配置需求,可加微信cwx0163,获取专属建议
投资者注意事项
第一,坚守合规底线,核查机构资质。投资前务必核实平台是否具备金融监管部门颁发的经营许可证,坚决远离无资质、无备案的财富公司、P2P平台等。可通过国家金融监管总局、中国证监会等官方渠道查询机构合法性,拒绝参与“无资质、高回报”的集资项目。
第二,理性看待收益,摒弃侥幸心理。牢记“高收益必然伴随高风险”,对承诺“保本保息”“年化收益超15%”的项目保持高度警惕,此类宣传多为非吸、诈骗的典型特征。投资时结合自身风险承受能力,不盲目追求高回报,不投入全部积蓄,避免杠杆投资。
第三,仔细甄别产品,拒绝盲目跟风。投资前认真研读产品说明书,明确资金投向、盈利模式、风险提示等核心信息,不被销售人员的口头承诺迷惑,不盲目跟随他人投资。对“内部渠道”“专属福利”等话术保持警惕,避免陷入投资陷阱。有资产配置需求,可加微信cwx0163,获取专属建议
第四,留存投资证据,强化风险意识。投资过程中妥善保管合同、转账记录、沟通记录等全部材料,便于后续出现问题时维护自己权益。同时主动学习金融知识,了解非法集资的识别方法,定期梳理投资 portfolio,及时退出风险过高的项目,守护自身财产安全。
除了本网站,也可关注公众号【风险手记】,获取金融领域实时资讯 —— 信托城投违约动态、各行业实时消息、某平台暴雷预警、私募量化相关内容,每日推送,帮你第一时间规避投资风险、捕捉行业机会。
私募配置愁筛选、怕踩合规坑、缺专业方向?
【扫码添加微信】,拉入高净值专属私募交流群,
与同频伙伴共探优质标的、拆解风险壁垒、优化资产配置

评论专区
Comment area推荐产品
product新闻资讯
information
Securities industry
Trust financing
Bank financial management
友情链接:
微信公众号
官方微信
产品小程序
















